Your Bathroom Just Got A Urinal.Any Bathroom Just Doubled Its Capacity.
Meet Urinup™: the dual-mode urinal system. No construction. No installation. Ready in 5 seconds.
For Your Home
Keep floors clean. End the morning rush. Wheel it anywhere.
For Your Business
Twice the capacity. Zero construction. Care facilities, stadiums, schools, offices, small businesses, worship facilities…
One bathroom or one hundred – Urinup™ delivers.
Innovative Eco-Friendly Solutions for Throughput, Conservation, and a Greener Future.

PORTABLE URINAL:
Gentlemen’s Edition (Wheels Anywhere You Need It)
- Bedside (elderly safety, recovery, nighttime)
- Workshop/garage (convenience during projects)
- Guest room (privacy and discretion)
- RV/camping (sanitary solution)
- Events (temporary capacity)
Zero-contact disposal: Open valve over toilet → Drains automatica

SPILL PREVENTER:
Stops Wet Floors & Bowl Mess
- Boys learning to aim
- Elderly with mobility/vision issues
- Nighttime half-asleep trips
- No more daily floor mopping
- No more wiping toilet seat/rim/bowl
Daily value: Clean floors + clean bowl = less work for you

CAPACITY DOUBLER:
Gentlemen’s Edition
Doubles Urination Throughput
- Two people urinate simultaneously
- Single bathroom homes (morning rush solved)
- Event venues (men’s line eliminated)
- Care facilities, worship facilities, small businesses
- Schools (between-class congestion & lockdown drilling)
- Offices (9am bathroom rush)
Deploy instantly: Position funnel → Ready in 5 seconds

CAPACITY DOUBLER
Women’s Edition (Patent pending. Full details and imagery revealed upon filing completion.)
Doubles Urination Throughput
- Two people urinate on same toilet simultaneously
- Single bathroom homes (morning rush solved)
- Event venues (women’s line eliminated)
- Care facilities, worship facilities, small businesses
- Schools (between-class congestion & lockdown drilling)
- Offices (9am bathroom rush)
Deploy instantly: Place funnel on toilet bowl → Ready in 5 seconds
Reserve Your Urinup™
First 100 reservations get 20% off launch price. Fully refundable. Lock in Priority Delivery (Q1 2027 to Q4 2027, edition-based).
No-risk reservation. Cancel anytime before shipment.
This is a refundable reservation deposit, not a purchase or investment.
Our Brands
- Urinup™
- Gentlemen editions
- Women editions
- Pediatric editions
- Autonomous edition
- LavOut™
- Drainova™
- Compost
Urinup™ Eco-friendly urinals that save water and reduce waste and costs of construction.

This example layout represents a package tailored for clinics, care homes, or assisted living spaces. Use the description here to explain how your configuration improves hygiene, comfort, and staff efficiency.

Care Facility Package

Eco-conscious cleaning products for a healthier home.


About CapaciFlow
At CapaciFlow, we believe modern sanitation must simultaneously deliver four essential outcomes:
Human Dignity: Providing accessible, modern solutions that respect every person.
Dynamic Capacity: Portable infrastructure that scales instantly to meet demand without construction or permanent installation.
Human Health: Enabling prompt urination to prevent infections and complications.
Planetary Health: Conserving water and reducing carbon emissions.
FREQUENTLY ASKED QUESTIONS
Your Questions, Answered
GENERAL QUESTIONS
Q: Is this sanitary?
A: More sanitary than traditional options.
Funnel mode: Urine drains directly into toilet bowl (just like using toilet normally). Quick wipe-down between uses, same as wiping toilet seat.
Portable mode: Zero-contact disposal. You never see or touch waste. Position unit next to toilet, open valve, waste drains automatically into toilet via gravity. Rinse unit over toilet (water drains through same valve). It takes 2 minutes, completely sanitary.
Q: Does it smell?
A: No.
Funnel mode: No tank = no odor. Urine drains directly into the toilet bowl. Quick wipe-down between uses, just like cleaning a toilet seat.
Optional: Add a drop of disinfectant when rinsing for extra freshness.
Q: How hard is the disposal process in portable mode?
A: Easiest system available. Watch our 60-second video demo.
- Wheel/carry unit to bathroom
- Position next to toilet bowl
- Open valve (simple lever/twist)
- Waste drains automatically into toilet (gravity)
- Rinse unit over toilet (water drains through valve)
- Close valve, wipe exterior
- Done in 2 minutes
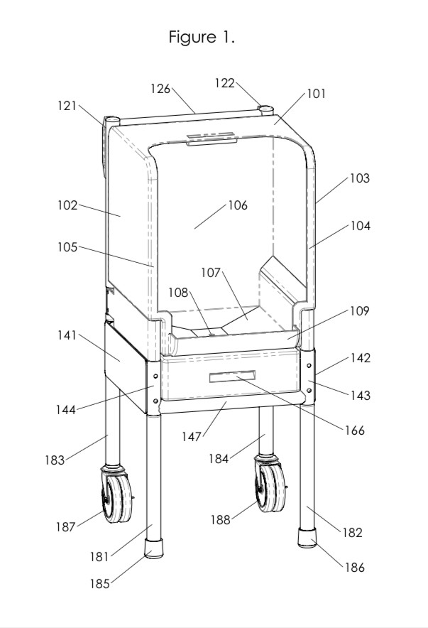
Elderly users and children can manage it independently. No heavy lifting (unit is lightweight). No pouring (valve does the work). No contact with contents ever.
Q: Can it really double urination capacity?
A: Yes. Physically tested and proven.
Two people urinate on the same toilet simultaneously using the funnel system:
- Person 1: Sits on toilet bowl normally
- Person 2: Sits/stands on funnel positioned above toilet bowl
- Both drain into the same toilet bowl below
Think of it as a double sink, two people, side by side, both draining to the same toilet bowl below.
Result: 2× throughput. Perfect for single bathroom homes, schools between classes, event intermissions, anywhere lines form.
Q: Is this only for urination? What about #2?
A: Correct, Urinup is designed for urination only.
Why this matters:
- Solves 80% of bathroom congestion (most bathroom trips are urination)
- Allows dual capacity safely and hygienically
- Perfect for morning rush, events, schools (most needs are urination)
For bowel movements: Use toilet normally (remove funnel if deployed).
Q: What about privacy?
A: Depends on the mode and situation.
Funnel Mode (Capacity Doubler):
- Used during rush times when privacy isn’t the priority
- Couples/family members comfortable together
- Parents + young kids
- Event venues (separate stalls, just doubling throughput)
Portable Mode:
- Includes privacy screens (2 panels)
- Perfect for bedroom use, guest rooms, classrooms
- Close door, use screens for added privacy
- Completely discreet
Many customers use funnel mode during chaotic mornings (family is fine with it) and portable mode for private bedside/guest use.
Q: Is it stable and safe to use?
A: Yes. Engineered for safety.
- Non-slip base (grips toilet bowl rim securely)
- Weight-tested for adult users (350 lb. capacity)
- Commercial-grade construction (used in schools, venues daily)
- Won’t tip or slide during use
- Fits 95% of standard residential and commercial toilets
Thousands of units in daily use with zero stability incidents reported.
INSTALLATION & COMPATIBILITY
Q: Do I need tools or a plumber to install?
A: No tools. No plumber. No installation.
Funnel mode: Place on toilet bowl. Ready in 5 seconds.
Portable mode: Snap tank onto unit. Ready in 10 seconds.
That’s it. Anyone can set it up.
Q: Will it fit my toilet?
A: Fits 95% of standard toilets.
Compatible with:
- Round and elongated bowls
- Standard residential toilets
- Most commercial toilets
- Wall-mounted toilets (with accessible bowl)
Not compatible with:
- Squat toilets
- Urinals (for funnel mode, but portable mode works anywhere)
- Extremely oversized specialty bowls
If incompatible: 60-day return guarantee. Try it risk-free.
Q: Can I leave it on the toilet permanently in funnel mode?
A: Yes, but most customers deploy/remove as needed.
Leave deployed if:
- You use it daily (spill prevention, regular capacity needs)
- Don’t mind the look (it’s functional, not decorative)
Remove and store if:
- Only needed during rush times or special occasions
- Aesthetics matter
- I want toilet to look normal when guests visit
It takes 5 seconds to deploy or remove, so most customers adapt based on situation.
CLEANING & MAINTENANCE
Q: How do I clean it?
A: Same as cleaning a toilet, very simple.
Funnel mode:
- Quick wipe with toilet paper or cleaning wipe between uses (30 seconds)
- Deep clean weekly: spray with bathroom cleaner, wipe down
- Bleach-safe, so you can disinfect thoroughly
Portable mode:
- After emptying via valve: rinse interior over toilet (water drains through valve)
- Spray exterior with cleaner, wipe down
- Weekly: deep clean with bathroom cleaner or bleach solution
Tank:
- Rinse after each emptying (drains through valve)
- Weekly: soak in diluted bleach solution (optional)
Total cleaning time: 2-3 minutes per week for regular maintenance.
Q: Can I use harsh cleaners or bleach?
A: Yes. The materials are bleach-safe and chemical-resistant.
Safe to use:
- Bleach solutions
- Lysol, Clorox, other bathroom cleaners
- Vinegar solutions
- Hydrogen peroxide
Avoid:
- Abrasive scrubbers (can scratch surfaces)
- Acetone/paint thinner (not necessary and may degrade plastic over time)
Q: How often do I need to empty the tank in portable mode?
A: Depends on usage, typically every 8-10 uses.
Tank capacity: 1 gallon (~8-10 uses for adults)
Most customers are empty:
- Daily if used as bedside (mornings)
- Every 2-3 days if used occasionally
- As needed (valve makes it so easy, you can empty even when half-full)
The beauty: Valve disposal is so quick and sanitary (60 seconds), customers don’t dread it like traditional bedside commodes. Many empty daily just because it’s easy.
SPECIFIC USE CASES
Q: Will boys actually use the funnel? Will it help with aim?
A: Yes, customers report dramatic improvement.
Why it works:
- Funnel is larger target than toilet bowl (easier to aim at)
- Positioned at standing height (no bending/adjusting)
- Everything funnels down into toilet (misses are impossible)
- Boys think it’s “cool” (novelty helps compliance)
Parent feedback: “My 6-year-old son actually WANTS to use the funnel now. He thinks it’s like a spaceship. And our floors are dry for the first time in two years.”
Q: Can elderly/people with mobility issues use this independently?
A: Yes, that’s a primary design goal.
Funnel mode:
- No bending or precise aim required
- Can sit or stand (whatever’s easier)
- Larger target surface
Portable mode:
- Wheels make repositioning easy (no heavy lifting)
- Valve disposal requires minimal strength (simple twist/lever)
- Many elderly customers manage completely independently
Testimonial: “My 82-year-old mother uses Urinup bedside every night and empties it herself every morning. The wheels make it easy to move, and the valve is so simple even with her arthritis. First bedside solution that doesn’t make her feel helpless.”
Q: Is this appropriate for schools/around children?
A: Yes, designed with school use in mind.
Age-appropriate:
- Completely sanitary disposal (staff never touch contents)
- Privacy screens included
- Educational opportunity (teaching bathroom hygiene)
- Reduces bathroom accidents and trauma during lockdowns
Currently used in:
- Elementary schools (lockdown drills + daily capacity)
- Middle schools (girls’ bathroom capacity)
- High schools (event overflow)
School feedback: Expecting after pilots.
Q: Can I use this in an RV or camper?
A: Yes, perfect for RV/camping use.
Benefits for RVers:
- Use in portable mode (no plumbing needed)
- Empty at any toilet later (gas station, campground, visitor center)
- No dump station needed (valve empties into regular toilets)
- Compact storage (fits in RV bathroom/closet)
- Sanitary disposal anywhere
RV customers love it for:
- Boondocking (camping without hookups)
- Nighttime use (don’t leave RV in dark)
- Avoiding dump station fees/hassle
PURCHASING & LOGISTICS
Q: What’s the return policy?
A: 60-day money-back guarantee. No questions asked.
If Urinup doesn’t work for you for any reason:
- Contact us within 60 days of purchase
- We send you a free return shipping label
- Send it back (no restocking fee)
- Full refund processed within 5 business days
Q: How long does shipping take?
A: Ships within 48 hours. Delivery in 3-7 business days (continental US).
- Orders placed Mon-Fri ship next business day
- Free shipping on all orders (continental US)
- Tracking number emailed when shipped
- International shipping available (contact for rates)
Expedited shipping available:
- 2-day: +$25
- Overnight: +$45
Q: Do you offer bulk/institutional pricing?
A: Yes-for schools, event venues, commercial facilities.
Volume discounts:
- 10-24 units: 10% off
- 25-49 units: 15% off
- 50+ units: 20% off (custom quote)
Plus for institutions:
- Free 60-day pilot program
- Staff training included
- Installation support
- Custom configurations available
📞 Contact: bulk@urinup.com | 1-800-XXX-XXXX
Q: Is there a warranty?
A: Yes, 1-year manufacturer warranty on all parts.
Covered:
- Valve malfunction
- Tank leaks
- Structural defects
- Material failures
Not covered:
- Normal wear and tear
- Damage from misuse
- Lost components
Claim process: Email support@urinup.com with photos. Replacement is shipped within 3-5 business days if claim is approved.
Q: Can I buy replacement parts?
A: Yes, all components are available individually.
Common replacements:
- Extra waste tanks: $29
- Privacy screens: $19
- Valve assembly: $15
- Wheels (for wheeled models): $12
Order online https://urinup.com or call customer service.
Reviews
CapaciFlow™ is about to transform our approach to sustainability at home.
Bet B.
Highly recommend for a sustainable future.
Brenda E.
The eco solutions from CapaciFlow™ are innovative and reliable.
Abdias C.
With CapaciFlow™, Living more sustainably has never been easier.
Bengy D.
Reserve Urinup™
Join the limited reservation for Urinup today. Secure founder pricing, refundable deposit, and priority delivery while supplies last. Fully mobile responsive page.











